Alun perin jäänmurtajiin suunniteltu Azipod®-propulsio on nykyään maailman yleisin potkurijärjestelmä myös risteilyaluksissa. Tyypillisessä Itämeren autolautassa Azipod®-propulsiojärjestelmä vähentää hiilidioksidipäästöjä 10 000 tonnia vuodessa perinteiseen potkuriratkaisuun verrattuna. Innovaatio oli niin käänteentekevä, että patentin FI76977 myöntäminen kesti kymmenen vuotta kilpailijoiden jarrutuksen vuoksi.
Azipod®-ruoripotkuri on meriteknologian taidonnäyte, joka syntyi tarpeesta kehittää erityisesti jäänmurtajiin kestävämpiä ja tehokkaampia propulsiojärjestelmiä. Azipod®-tuote on uranuurtaja: sen avulla laivojen ja erilaisten kelluvien alusten energiankulutus ja kasvihuonepäästöt ovat vähentyneet jopa neljänneksellä.
Millainen tausta Azipod®-tuotteella on, Kolsterin patenttijohtaja Tapio Äkräs?
1980-luvun loppupuolella Merenkulkuhallitus, Strömberg Oy (myöhemmin ABB Strömberg Oy) ja Masa-Yardsin telakka lähtivät suunnittelemaan potkurilaitetta, jolla alusten perinteinen akseli-peräsin-yhdistelmä voitaisiin korvata. Laivanrakennus- ja sähkötekniikan osaajat löivät viisaat päänsä yhteen – ja lopputulos oli mullistava!
Ennen Azipod®-propulsiojärjestelmää laivan pääkoneen tuottama energia siirrettiin mekaanisesti potkuriin tai sähkönä laivan rungon sisään sijoitettuun sähkömoottoriin. Akseli vietiin vedenpitäväksi tiivistetyn läpiviennin kautta aluksen ulkopuolelle, ja sen päähän kiinnitettiin potkuri. Tällaisessa käyttöjärjestelmässä alus jouduttiin varustamaan jopa useilla pienemmillä apupotkureilla ja peräsinlaitteilla, jotta ohjaus saatiin riittävän tarkaksi. Järjestelmät olivat kalliita, herkästi vaurioituvia ja vaativat paljon huoltoa. Jäänmurtajissa haasteet olivat omaa luokkaansa, koska jäisen meren olosuhteet haastavat niin ohjauksen kuin järjestelmien kestävyydenkin.
Kuinka Azipod®-ruoripotkuri toimii?
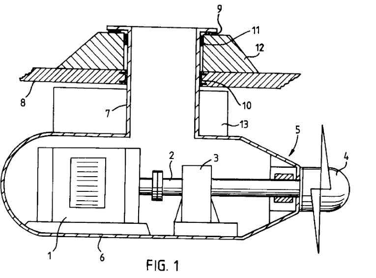
Innovaatio perustuu AC-moottoreihin, taajuusmuuttajiin, puolijohtimiin ja potkurijärjestelmiin. Azipod®-ruoripotkuri on sähkökäyttöinen, ja potkuria pyörittävä sähkömoottori on laivan ulkopuolella olevassa kapselissa. Sähkökaapelointi tuodaan kapseliin onton putkiakselin kautta. Kapselin ja putkiakselin kääntölaitteet, sähkögeneraattorit ja sähkömoottorin ohjausyksikkö sijoitetaan laivan rungon sisään.
Rakenteessa koko potkurilaite pystyy vapaasti kääntymään 360 astetta pystyakselinsa ympäri, mikä tekee perinteiset potkuriakselit ja peräsinlaitteet tarpeettomiksi. Moottori sijaitsee potkurin akselilla, joten potkurin pyörimisnopeutta voidaan säätää portaattomasti taajuusmuuttajalla. Alusta on siis helpompi käsitellä, ja lisäksi järjestelmä on turvallisempi, energiatehokkaampi ja hiljaisempi.
Kuvateksti: Havainnekuva Azipod®-ruoripotkurin rakenteesta: Lieriömäinen "kapseli" (6), johon potkuria (4) pyörittävä sähkömoottori (1) akseleineen (2) on sijoitettu ja joka on tuettu kiertyvällä putkiakselilla (7) laivan runkoon (8).
Kuvat: ABB
Mitkä ovat Azipod®-tuotteen tärkeimmät ominaisuudet ja missä sitä käytetään?
Azipod®-propulsiojärjestelmällä varustettu alus säästää polttoainetta jopa 25 prosenttia perinteisiin potkureihin verrattuna. Tyypillisessä Itämeren autolautassa Azipod®-ruoripotkuri vähentää hiilidioksidipäästöjä 10 000 tonnia vuodessa. Järjestelmä on siis huomattavasti ympäristöystävällisempi moniin muihin potkureihin verrattuna.
Azipod®-potkurijärjestelmän etuja ovat myös ohjailtavuus, tilansäästö, pienempi tärinä- ja melutaso sekä erityisesti jäissä kulkevissa aluksissa lyömätön suorituskyky.
Prototyypin kehitys aloitettiin vuonna 1989, ja ensimmäinen Azipod®-ruoripotkuri asennettiin Merenkulkuhallituksen väyläalus Seiliin heti seuraavana vuonna. Prototyyppi osoittautui menestykseksi. Aluksi ruoripotkureita asennettiin jäänmurtajiin ja sen jälkeen risteilyaluksiin. Azipod®-propulsio on nykyisin yleisin potkurikäyttöjärjestelmä niin matkustajaristeilijöissä kuin korkean jääluokan aluksissakin. Järjestelmää käytetään lisäksi eri tyyppisissä lautoissa, offshore-aluksissa, loistojahdeissa, tutkimuslaivoissa ja monissa muissa laivatyypeissä.
Miten teknologia on patentoitu?
Kolster toimi ABB Strömberg Oy:n asiamiehenä, kun suomalainen patenttihakemus FI870670 jätettiin vuonna 1987. Keksijöinä olivat Kauko Järvinen ja Ingmar Waltzer.
Peruspatentti kattoi käytännössä kaikki mahdolliset ruorimoottorin toteutustavat. Aluksi merkittävinä sovelluskohteina pidettiin vain jäänmurtajia, eikä patenttisuojaa haettu laajemmin. Myös kilpailijat havaitsivat innovaation potentiaalin lähes välittömästi. Patenttihakemus eteni myöntämisvaiheeseen jo 1988, mutta kilpailijat käynnistivät väitekäsittelyn estääkseen patentin myöntämisen. Väitekäsittely kävi läpi kaikki valitusinstanssit aina Korkeinta hallinto-oikeutta myöten, ja patentti FI76977 myönnettiin vasta kymmenen vuotta varsinaisen patenttihakemuksen jättämisen jälkeen. Se ehti kuitenkin aiheuttaa kilpailijoille päänvaivaa pitkään ennen kuin patenttiaika päättyi vuonna 2007.
Vuosien mittaan ABB on jättänyt lukuisia patenttihakemuksia, jotka koskevat Azipod®-propulsiojärjestelmän toteutusta.
Azipod® on ABB:n rekisteröity tavaramerkki.
Kolsterin ensimmäinen patentti palveli paperiteollisuutta.
Samana vuonna 1874 alkoi myös Suomen vanhimman IPR-alan yrityksen tarina. Esittelemme Kolsterin 150. juhlavuoden kunniaksi kiinnostavia suomalaisia keksintöjä tai patentteja.
Tapio Äkräs
Partner, Director, Patents, European Patent Attorney
tapio.akras@kolster.com
+358 50 524 2406
Artikkelia on päivitetty viimeksi 6.8.2024. Se on alun perin julkaistu 31.7.2019.
